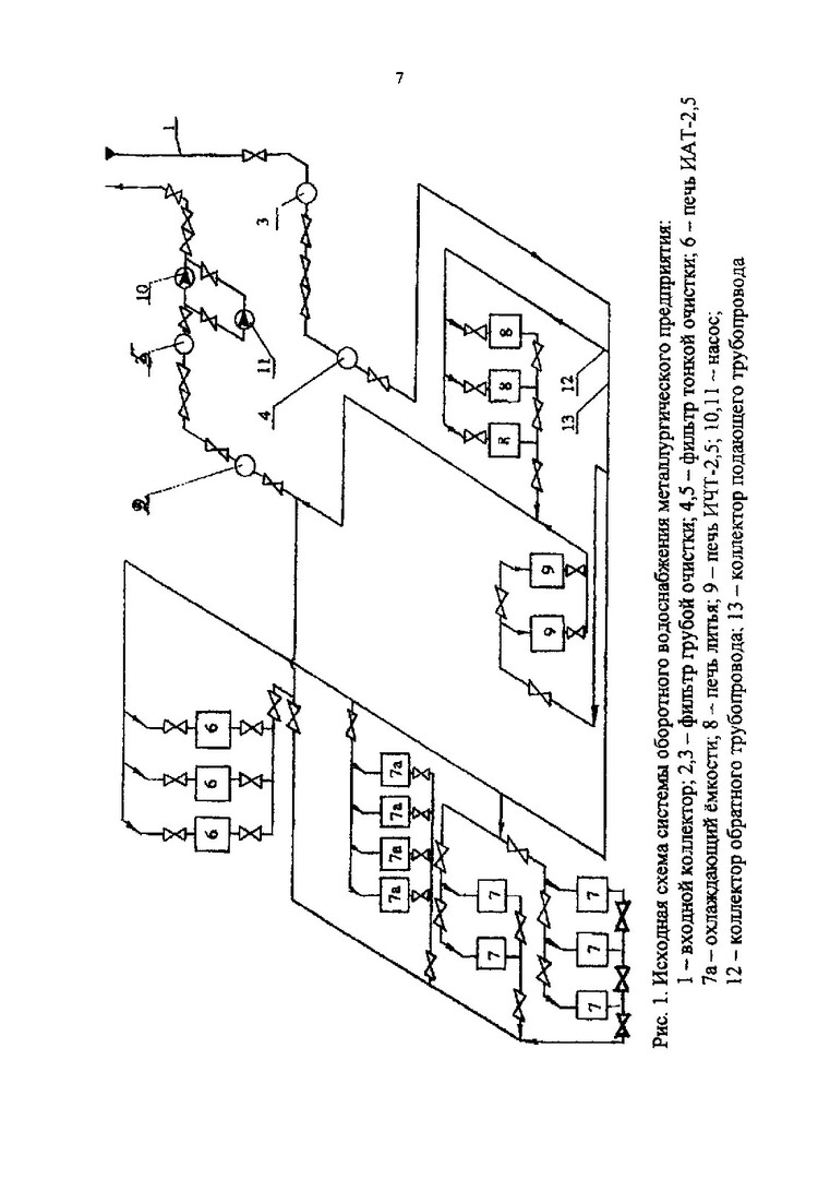
Энергосбережение и энерготехнологическое комбинирование : метод. указ. по курсовому проектированию для студентов направления подгот. дипломир. спец. 650800- "Теплоэнергетика" (спец. 100700)
Библиографическое описание:Коннов, Анатолий Григорьевич. Энергосбережение и энерготехнологическое комбинирование : метод. указ. по курсовому проектированию для студентов направления подгот. дипломир. спец. 650800- "Теплоэнергетика" (спец. 100700) / А. Г. Коннов ; Краснояр. гос. техн. ун-т. - Красноярск : ИПЦ КГТУ, 2004. - 56 с. - (Учебно-методическая литература). - Библиогр.: с. 32