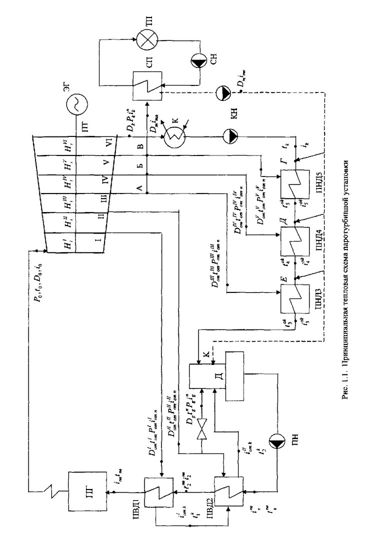
Библиографическое описание:Матвиевский, Александр Михайлович. Тепловые электрические станции : метод. указ. по курс. проект. для студентов напр. подг. дипломир. спец. 060000 всех форм обучения / А. М. Матвиевский, Е. В. Костоустова ; Краснояр. гос. техн. ун-т. - Красноярск : ИПЦ КГТУ, 2005. - 32 с. - (Учебно- метод. лит.). - Текст : непосредственный + Текст : электронный.