Механика. Курсовое проектирование деталей машин : учеб.-метод. пособие [для студентов спец. 200101.65 «Приборостроение», 210201.65 «Проектирование и технологии электронных средств», 140101, 140104 «Охрана окружающей среды» заочной формы обучения]
Библиографическое описание:Механика. Курсовое проектирование деталей машин : учеб.-метод. пособие [для студентов спец. 200101.65 «Приборостроение», 210201.65 «Проектирование и технологии электронных средств», 140101, 140104 «Охрана окружающей среды» заочной формы обучения] / Сиб. федерал. ун-т ; сост.: Е. Г. Синенко, В. И. Сенькин, В. А. Меновщиков. - Электрон. текстовые дан. (PDF, 14 Мб). - Красноярск : СФУ, 2013. - Загл. с титул. экрана. - Библиогр.: с. 185. - Изд. № 2013-721. - Текст : непосредственный.
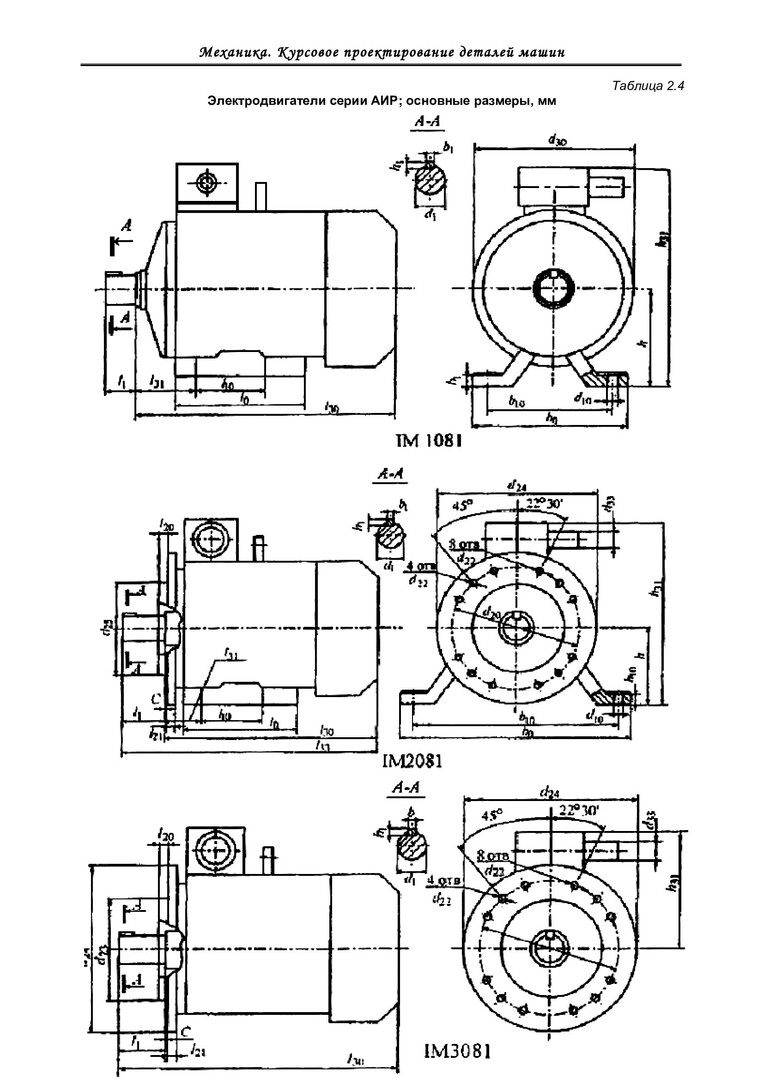
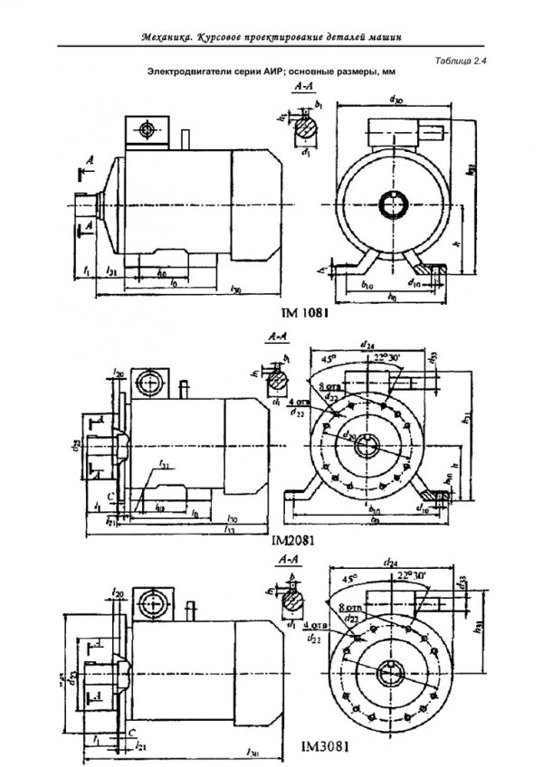
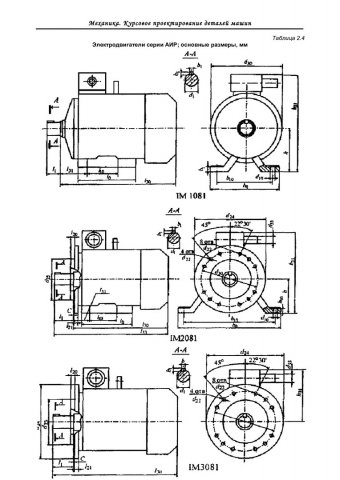
Аннотация:Приведены методические указания по выполнению чертежей основных деталей машин, правила оформления документации, учтены изменения в расчете зубчатых и червячных передач. Для студентов очной формы обучения направлений 200101.65 «Приборостроение», 210201.65 «Проектирование и технологии электронных средств», а также для студентов заочной формы обучения направлений 140101, 140104 «Охрана окружающей среды».